Наши телефоны в Москве
+7 (495) 507-2018
+7 (495) 928-7701
Консультация ON-Line
ICQ - 477808552
Оплата и доставка

ДТ

Доступен для скачивания
краткий каталог продукции:

ДТ
Цена:  914 ... 1523 руб.

Датчики-реле тяги предназначены для регулирования вакуумметрического давления.

Применяются в автоматических и автоматизированных системах контроля и управления.

Являются аналогами датчиков реле серии РУМД (по сравнению с серией РУМД габаритные размеры уменьшены не менее чем в 5 раз, масса  –  в три раза).

Разработанные датчики-реле имеют информационную шкалу настройки.

Технические характеристики:
ПараметрДТ-2,5
ДТ-40
Пределы уставок
0…300 кгс/м²
0…3 кПа
4…250 кгс/м²
0,04…2,5 кПа
40…4000 кгс/м²
0,4…40 кПа
4…40 кгс/м²
0,04…0,4 кПа
Давление перегрузки

1000 кгс/м²

10 кПа

8000 кгс/м²

80 кПа

Величина зоны возвратане более 10% от верхнего предела уставки
Коммутируемая мощность:
- переменного тока
- постоянного тока

300 ВА
70 Вт
Напряжение:
- переменного тока
- постоянного тока

250 В
30 В
Климатическое исполнениеУХЛ3, Т3
Рабочая среда
воздух, газы и жидкости неагрессивные к алюминиевому сплаву АЛ-9 и маслостойкой резине
Условия эксплуатации
−30…+50°C
(95±3)%RH при температуре +35°C
вибрация частотой до 25 Гц, с амплитудой не более 0,1 мм
АналогДЕ-57-2,5Т
ДЕ-57-6Т
ДЕ-57-40Т
МонтажНастенный, с помощью кронштейна
Габаритные размеры ∅253×180 мм ∅55×160 мм
Вес≤1900 г≤10 600 г
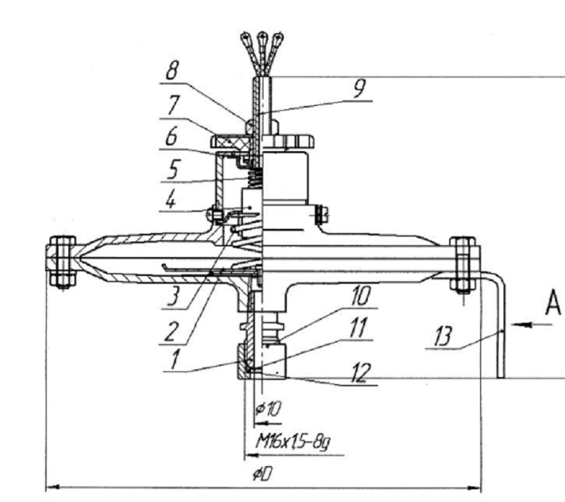
Устройство датчика

1 – штуцер; 2 – мембранный чувствительный элемент; 3 – настроечная пружина; 4 – микропереключатель; 5 – пружина; 6 – фиксирующая шайба; 7  – маховик; – гайка; 9 – втулка; 10 – гайка; 11 – заглушка; 12 – кольцо уплотнительное; 13 – кронштейн.
Монтаж:

Датчики-реле тяги ДТ-2,5 и ДТ-40 предназначены для установки на объект в вертикальном положении. Монтаж производится с помощью штуцера. В качестве уплотнения под штуцер применяются прокладки в виде шайб из свинца, фибры, кожи, мягкой меди и другое

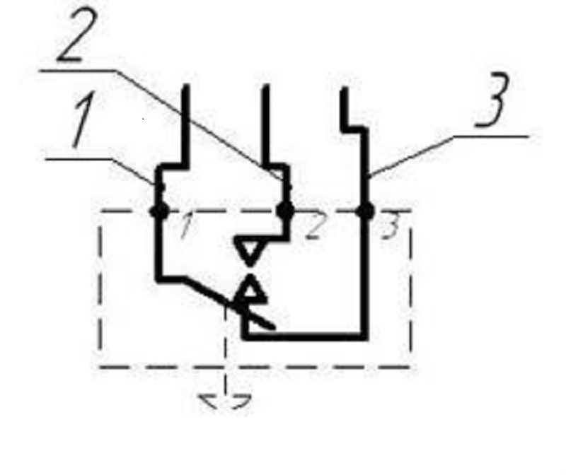
Подключение датчиков-реле в электрическую цепь производится проводами сечением 0,5 мм или 1,6 мм по электрической схеме, приведенной ниже

Схема подключения датчика

Номер проводаЦвет изоляцииДопускаемая замена по цвету изоляции
1ЧерныйФиолетовый, коричневый
2КрасныйРозовый, желтый, оранжевый
3БелыйСиний, голубой, зеленый

Версия: 2021-02-17-КАМ