Миниатюрный поплавковый датчик уровня ПДУ-Н501 предназначен для регулирования уровня жидкости в резервуаре, защиты насоса от сухого хода, автоматизации процесса наполнения/осушения резервуараОсобенности:
Технические характеристики:
| Параметр | Значение |
Модель
| ПДУ-Н501-43
| ПДУ-Н501-85
|
| Рабочее положение | Вертикальное
|
Количество уровней
| 1
|
| Материал корпуса | Полипропилен | Пластик |
| Рабочая температура | −10...+70°С |
| Максимальное рабочее давление | 1 МПа |
| Максимальная коммутируемая мощность | 50 Вт
|
Максимальный коммутируемый ток
| ≅0,5 А (при ≅24 В)
|
| Максимальное коммутируемое напряжение | ≅220 В |
| Длина проводов | 350 мм |
Присоединение
| M10×0,9 |
Размеры поплавка
| ∅ 22×21 мм | ∅ 22,5×21 мм
|
Длина погружной части
| 43 мм
| 84 мм
|
| Габаритные размеры | ∅ 22×58 мм
| ∅ 22,5×99 мм
|
Вес
| 13 г | 17 г
|
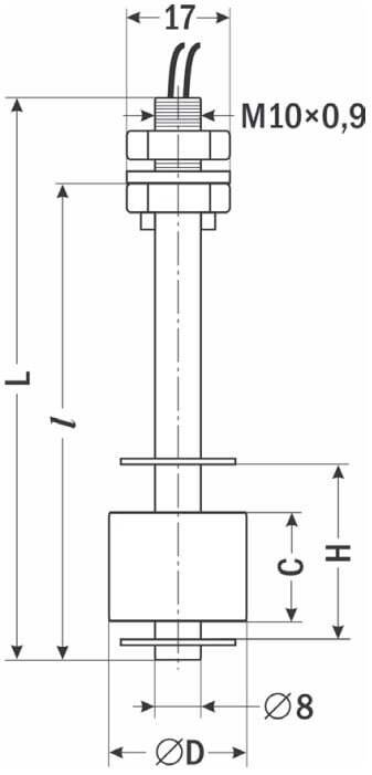
Габаритные размеры
|
 |
| Размер | Н501-43 | Н501-85
|
L
| 58
| 99
|
l
| 43
| 84
|
C
| 21
| 21
|
∅ D
| 22
| 22,5
|
| H | 30 | 32 |
Версия: 2024-03-12-ШАР